|

1. 컴퓨터(CAD)를
이용하여 임페라내의 이상적인 물의 흐름을 유도한
임페라 장착
2.
토출구경이 중앙 상부에 위치하여 배관하중에
대한 안정성과 가동시 BALANCE유지
3.
BACK PULL OUT구조로 분해시 설비 배관의 해체없이
분해 조립이 용이한 구조의 설계
4.
부품의 표준화로 최대의 호환성 유지
5.
흡입구경의 70%되는 물질도 이송가능
|
|
빌딩의
정화조용
오수,
오물, 배수용
식품
폐기물 처리장
화학플랜트,
공장 폐수처리장
하수
처리용
일반
폐수 처리용
|
|
|
|
Capacity 토출량 |
~5 ㎥/min |
|
Head 총양정 |
~50m |
|
Design Pressure
설계압력 |
10kgf/㎠ |
|
Revolution 회전수 60Hz |
1750rpm |
|
Rotation 회전방향-View
From Coupling End |
*Clock Wise |
|
Temperature 온도 |
~ 135℃ |
|
Nozzles (흡,토출구) |
Ratings |
KS 10 kgf/㎠ |
|
Facing |
FF •
RF |
|
Location |
End Suction, Top Discharge |
|
Seal 축봉장치 |
Convention Packing or
Mechanical Seal |
|

|

|
|

|
|
|
|
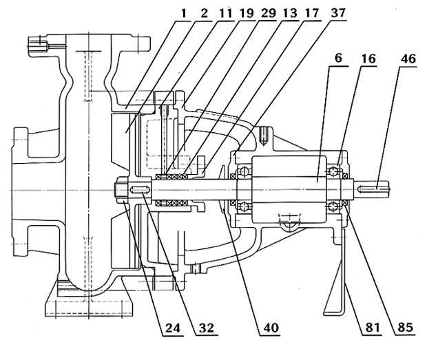
NO |
NAME |
NO |
NAME |
|
1 |
CASING |
24 |
IMPELLER NUT |
|
2 |
IMPELLER |
29 |
LANTERN RING |
|
6 |
SHAFT |
32 |
IMPELLER KEY |
|
11 |
STUFFING BOX COVER FOR PACKING |
37 |
OUTBOARD BEARING COVER |
|
13 |
PACKING |
40 |
DEFLECTOR |
|
14 |
SLEEVE |
46 |
COUPLING KEY |
|
16 |
INBOARD BEARING |
81 |
SUPPORT |
|
17 |
PACKING GLAND |
85 |
OIL SEAL |
|
19 |
FRAME(BEARING HOUSING) |
|
|
|
|
|
MODEL |
BORE |
SPECIFICATION |
IMPELLER |
CASING |
M/SEAL
DIA |
BEARING
NO |
PACKING
SIZE |
|
(SUC, X DIS) |
Q(M3/min) |
H(M) |
P(KW) |
OUT DIA |
THICKNESS |
|
DVX-40A |
Ø40XØ32 |
0.15 |
10 |
1.5 |
Ø175 |
7 |
Ø25 |
#6305ZZ |
8 |
|
50A |
50 X 40 |
0.25 |
10 |
2.2 |
175 |
7 |
25 |
6305ZZ |
8 |
|
65A |
65 X 50 |
0.5 |
10 |
3.7 |
175 |
7 |
25 |
6305ZZ |
8 |
|
80A |
80 X 65 |
0.9 |
10 |
5.5 |
178 |
8 |
25 |
6305ZZ |
8 |
|
40B |
50 X 40 |
0.15 |
17 |
2.2 |
214 |
8 |
30 |
6306ZZ |
8 |
|
50B |
50 X 40 |
0.25 |
17 |
3.7 |
214 |
8 |
30 |
6306ZZ |
8 |
|
65B |
65 X 50 |
0.6 |
17 |
5.5 |
214 |
8 |
30 |
6306ZZ |
8 |
|
80B |
80 X 65 |
1.0 |
17 |
7.5 |
214 |
8 |
30 |
6306ZZ |
8 |
|
100B |
100 X 80 |
1.5 |
22 |
15 |
240 |
8 |
40 |
6308ZZ |
9.5 |
|
125B |
125 X 100 |
2.0 |
22 |
19 |
245 |
9 |
40 |
6308ZZ |
9.5 |
|
|
|